Available as a single-zone or multi-zone unit, these low static units are designed to cool and heat one or two rooms through a short duct run. The SEZ series may be mounted in the attic, hidden in the ceiling or beneath the floor, or concealed behind a bulkhead.
Available as a single-zone or a multi-zone unit, the PEAD series offers low capacities suitable for Passive Houses and large capacities suitable for light commercial uses such as offices, retail and restaurants. These medium static units are capable of serving large spaces or multiple rooms from a longer duct run. The PEAD series may be mounted in the attic, hidden in the ceiling or beneath the floor or concealed behind a bulkhead.
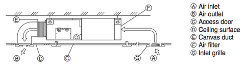
Compact Ceiling-Concealed Units
Only the intake-air grille and outlet vents are visible when using the SEZ Model ceiling-concealed indoor unit. The compact design requires minimal space and installs in buildings with lowered ceilings or attics.

The height is only 9-7/8” for all sizes of this model ranging from 12 to 42 KBTU/H. Its compact size allows for the unit installations in low ceilings with minimal clearance space.
Energy Efficiency
SEER: up to 22.0
HSPF: up to 13.1
COP: up to 4.0
Sound Levels
As low as 23 db(A)
Built-in Drain Lift
All sizes feature a built-in drain lift mechanism for the removal of condensate. A fail-safe mechanism recognizes a high liquid level in the condensate pan and turns off the indoor fan and the outdoor unit compressor to prevent overflow.
Manufacturer Warranty
10 year manufacturer warranty



